一、什么是智能訂單加粉?
智能訂單加粉是指打通各大電商平臺(淘系、京東、有贊、抖店、微盟....),當商家在這些電商平臺的店鋪有新訂單時候,會自動獲取訂單中的收貨手機號,并對手機號批量進行AI智能外呼,當用戶有加好友意向時,會將對手機號發送確認短信,并將手機號分配給員工實時去添加。
上傳流程中,商家可以指定訂單狀態去執行,可以實現多個狀態都去加好友,直到加成功為止。

二、怎么智能訂單加粉?
a、進入【爆粉通】-【智能訂單加粉】-【加好友設置】-開啟訂單自動加好友

b、選擇需要加粉的電商店鋪,這些店鋪有新訂單時,會自動獲取新訂單的手機號,這個手機號會根據設置的任務自動執行加好友注:如果導入的手機號在系統中已存在,將自動過濾不在添加
注:如果同一個手機號同時有多筆訂單時,之后對最早的一筆訂單執行加好友的動作,當這筆訂單的加好友任務全部結束后,且這個手機號沒有添加成功時。有同一手機號的訂單才會再次執行加好友任務。否則全部同手機號的訂單都將自動過濾。

c、可以加好友的訂單狀態有三種,用戶可以開啟一種或多種狀態下加好友。當手機號在其中一種狀態加好友成功后,后面的狀態任務將不在執行。

d、每一種訂單狀態都有四種加粉方式,商家可根據自身情況中選擇一種方式。
- AI外呼+發短信+分配員工加粉:是指有新的訂單收貨手機號時,會導入手機號進行AI智能外呼,用戶接電話并確定有加好友意向時,接著會給有意向的手機號發送商家指定的短信內容,通過雙重觸達后再分配給選中的員工,員工會收到實時提醒,要求員工實時去添加當前這個手機號為好友.

注:對沒有意向的客戶會自動過濾,不給客戶發短信或分配注:啟用該項需注意AI外呼和短信費用充足否則AI外呼和發短信將失敗,加粉任務將中斷。
- AI外呼+分配員工加粉:是指有新的訂單收貨手機號時,會導入的手機號進行AI智能外呼,用戶接到電話確定有加好友意向時,接著會將有意向的手機號分配給選中的員工,員工會收到實時提醒,要求員工實時去添加當前這個手機號為好友。
- 發短信+分配員工加粉:新的訂單收貨手機號時,會導入的手機號發送商家指定的短信內容,通過短信觸達后再分配給選中的員工,員工會收到實時提醒,要求員工實時去添加當前這個手機號為好友。
注:因為沒有AI外呼,所以手機號將批量平均分配給指定員工。不會像上面兩種方式外呼完一個有意向就會立即分配一個。
僅分配員工加粉:是指新的訂單收貨手機號時,會將導入的手機號分配給選中的員工,員工會收到實時提醒,要求員工實時去添加當前這個手機號為好友。
以上四種分配員工方式均為:平均分配。要使用前面3種方式,需要開通AI外呼功能或充值短信。如何開通請聯系您的服務專員e、設置加粉時間段:建議是在8:00-20:00,導入手機號是在設置的時間段內,則任務會立即開始執行,若不在時間段內則會到了時間段之內才會執行。注:當導入的手機號一天只能沒有執行完,會到第二天的任務時間在接著執行。
注:當有開啟AI外呼的時候,加粉時間要在AI外呼時間段之內,這是為了避免導入大量手機號,但沒有到外呼時間,導致外呼失敗。建議加粉時間和外呼時間保持一致,避免任務失敗。

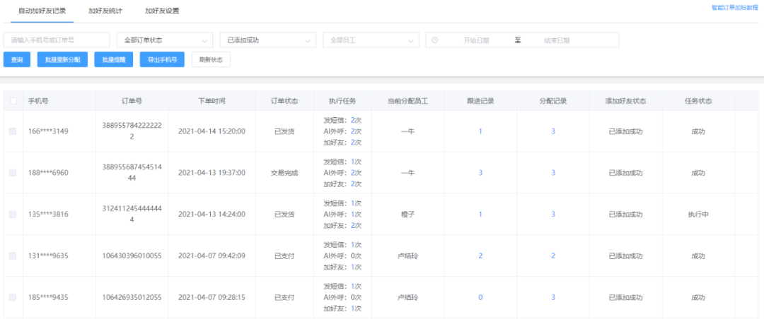
f、保存,智能訂單加粉功能開始,指定店鋪有新訂單時,會檢測新訂單的手機號是否添加過好友,若沒有添加過好友就會看是否有任務在執行,若沒有任務就會創建加好友任務,并生成加好友記錄

在任務時間段內,系統會執行加粉任務,將有意向的手機號通過 “艾客助手” 通知選中的員工。

打開工作臺-【客戶聯系】-【添加客戶】復制手機號添加好友

已復制的手機號會進入【已添加未成功】狀態,即等待好友通過狀態。好友通過后會自動變為【添加成功】。員工可以通過此消息彈窗了解自己添加客戶的情況
注:若這個手機號已是好友,員工可手動點擊“已是好友 ”按鈕,系統會查詢這個好友是否存在,若存在標記這個手機號未添加成功

若不存在則彈出提示。

任務執行完后,系統會自動監控員工添加好友的情況,好友是否有意向、短信是否發送成功,員工是否有添加好友,是否添加成功




470
電商私域,就用艾客!



